地殻傾斜の連続観測で捉えた1998年4月〜5月の伊豆半島北東部の火山性地殻活動


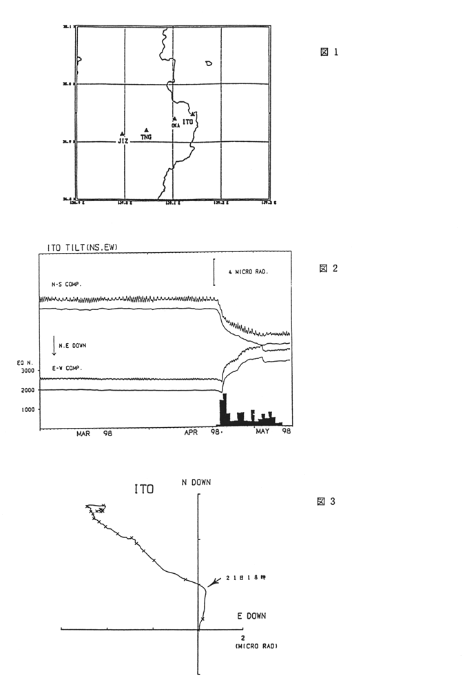
図1 伊東市周辺の傾斜観測点

図2 伊東市川奈(ITO)における傾斜記録(5月11日8時まで)と気象庁の鎌田における日別地震回数(5月8日16時まで) 傾斜の生記録及びBAYTAP−Gにより潮汐成分を取り除いた記録(以下同様)

図3 ITOにおける傾斜ベクトル(4月20日0時〜5月11日8時まで、各日にちの0時のポイントを×印で示す)


防災科学技術研究所


1998年4月の地震活動について