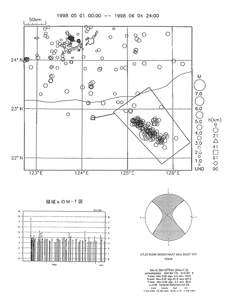
石垣島南方沖の地震活動





気象庁


1998年5月の地震活動について